УЗИП переменного тока Beny BUA-40/2 AC 40kA
УЗИП (устройства защиты от импульсных перенапряжений) переменного тока BUA-40/2 AC 40kA до 385В относится к варисторному типу со 2-м классом защиты. Применяется УЗИП для защиты электрооборудования от возможного непрямого попадания молнии.
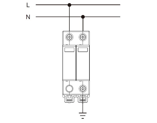
Прибор имеет модульное исполнение и устанавливается на DIN-рейку, варисторные модули съемные и после срабатывания защиты подлежат замене, по принципу предохранителей. На передней части расположен индикатор показывающий состояние срабатывания (зеленый цвет - норма, красный - необходима замена модуля). Для работы устройства необходимо наличии контура заземления.
Второй класс - это защита от наведенного при непрямом ударе молнии импульса тока или перенапряжения.
Технические характеристики
- Тип тока: Переменный (AC)
- Количество полюсов: 2Р
- Макс. длительное напряжение: 385 В
- Номинальный ток разряда (8/20) мкс: 20 кА
- Макс. ток разряда (8/20) мкс: 40 кА
- Напряжение защиты: 1.8 кВ
- Температура эксплуатации: -5 ~+ 40 ℃
- Крепление: на DIN-рейку
- Размер (ВхШхГ) 89х36х69.5 мм
- Вес: 0.25 кг
Габаритные размеры УЗИП

Схема подключения УЗИП

Параметры УЗИП:
- Номинальный импульсный разрядный ток In - это пиковое значение испытательного импульса тока формы 8/20 мкс, проходящего через защитное устройство. Ток данной величины защитное устройство может выдерживать многократно.
- Максимальный импульсный разрядный ток Imax - это пиковое значение испытательного импульса тока формы 8/20 мкс, который защитное устройство может пропустить один раз и не выйти из строя.
- Импульс тока 8/20 - импульс тока с фактическим номинальным временем фронта 8 мкс и номинальным временем полупериода 20 мкс.
- Уровень защиты Up - это максимальное значение падения напряжения на УЗИП при протекании через него импульсного тока разряда. Параметр характеризует способность устройства ограничивать появляющиеся на его клеммах перенапряжения. Обычно определяется при протекании номинального импульсного разрядного тока In.
Отзывы не найдены